Затвор поворотный фланцевый
Фланцевый поворотный затвор применяется как запорное устройство в различных типах трубопроводов, позволяет оперативно изменять, при необходимости, параметры потока транспортируемой среды.
Затвор поворотный фланцевый может использоваться системах для регулировки потоков воды. Регулировка может осуществляться в трубопроводах, работающих с питьевой или технической водой.
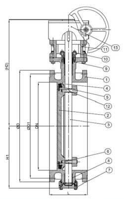
Диаметр: DN 200 – 2000 мм.
Рабочее давление: PN 10 / 16
Рабочая температура: до 80ºС.
Строительная длина: F4 DIN 3202.
Рассверловка фланцев: PN10 / PN16.
|
|
|
DN |
L (mm) |
H (mm) |
D (mm) |
D1 (mm) |
D2 (mm) |
F (mm) |
B (mm) |
n-d (mm) |
Weight (kg/pcs) |
|||||
|
1.0 |
1.6 |
1.0 |
1.6 |
1.0 |
1.6 |
1.0 |
1.6 |
1.0 |
1.6 |
|||||
|
200 |
230 |
300 |
340 |
340 |
295 |
295 |
268 |
268 |
3 |
20 |
20 |
8-23 |
12-23 |
62 |
|
250 |
250 |
315 |
395 |
405 |
350 |
355 |
320 |
320 |
3 |
22 |
22 |
12-23 |
12-28 |
100 |
|
300 |
270 |
350 |
445 |
460 |
400 |
410 |
370 |
378 |
4 |
24.5 |
24.5 |
12-23 |
12-28 |
120 |
|
350 |
290 |
370 |
505 |
520 |
460 |
470 |
430 |
438 |
4 |
24.5 |
26.5 |
16-23 |
16-28 |
180 |
|
400 |
310 |
400 |
565 |
580 |
515 |
525 |
482 |
490 |
4 |
24.5 |
28 |
16-28 |
16-31 |
214 |
|
450 |
330 |
470 |
615 |
640 |
565 |
585 |
532 |
550 |
4 |
25.5 |
30 |
20-28 |
20-31 |
270 |
|
500 |
350 |
535 |
670 |
715 |
620 |
650 |
585 |
610 |
4 |
26.5 |
31.5 |
20-28 |
20-34 |
347 |
|
600 |
390 |
590 |
780 |
840 |
725 |
770 |
685 |
725 |
4 |
30 |
36 |
20-31 |
20-37 |
543 |
|
700 |
430 |
590 |
895 |
910 |
840 |
840 |
800 |
795 |
4 |
32.5 |
39.5 |
20-31 |
24-37 |
690 |
|
800 |
470 |
730 |
1015 |
1025 |
950 |
950 |
905 |
900 |
4 |
35 |
43 |
24-34 |
24-40 |
880 |
|
900 |
510 |
730 |
1115 |
1125 |
1050 |
1050 |
1005 |
1000 |
5 |
37.5 |
46.5 |
28-34 |
28-40 |
1170 |
|
1000 |
550 |
940 |
1230 |
1255 |
1160 |
1170 |
1110 |
1115 |
5 |
40 |
50 |
28-37 |
28-43 |
1560 |
|
1200 |
630 |
990 |
1455 |
1485 |
1380 |
1390 |
1330 |
1330 |
5 |
45 |
57 |
32-40 |
32-49 |
2650 |
|
1400 |
710 |
1120 |
1675 |
1685 |
1590 |
1590 |
1535 |
1530 |
5 |
46 |
60 |
36-43 |
36-49 |
3600 |



