Задвижка шиберная (ножевая)
НАЗНАЧЕНИЕ:
Задвижка шиберная (задвижка ножевая) применяется для установки в качестве запорной арматуры на оборудовании или трубопроводах для перекрытия, регулирования потока рабочей среды.
СХЕМА:
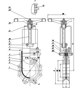
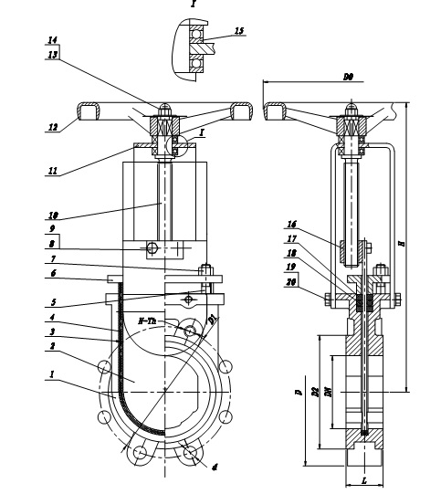
![]() |
1 - Корпус: Чугун GGG40 2 - Затвор: AISI 304 (08x18н10) 3 - Уплотнение: NBR 4 - AISI 304 (08x18н10) 5, 7-9, 13,14,19,20 - Болт: AISI 304 (08x18н10) 6 - Сальник: WCB ст.25 10 - Шток: AISI 304 (08x18н10) 11 - Хомут: Сталь А3 12 - Маховик: чугун 15 - Втулка: ZChSnSb10-6 16 - Резьбовая втулка: Латунь 17 - Уплотнение: PTFE 18 - Уплотнение: EPDM |
ОСНОВНЫЕ ТЕХНИЧЕСКИЕ ДАННЫЕ И ХАРАКТЕРИСТИКИ
| Наименование параметра | Задвижка шиберная (ножевая) двухсторонняя | |||||||||||
| Показатель | ||||||||||||
| Условный проход Ду, мм | 50 | 65 | 80 | 100 | 125 | 150 | 200 | 250 | 300 | 350 | 400 | 500 |
| Условное давление | 1,0 (10 кгс/см) | |||||||||||
| Рабочая среда | фекальные, целлюлозно-бумажные стоки, химические вещества, вода | |||||||||||
| Рабочая температура | От 0°С до +80°С | |||||||||||
| Длина L, мм | 48 | 48 | 51 | 51 | 57 | 57 | 70 | 70 | 76 | 76 | 89 | 114 |
| Масса, кг | 8 | 9 | 10 | 12 | 14 | 16 | 28 | 45 | 60 | 94 | 137 | 235 |
| Диаметр D | 165 | 185 | 200 | 220 | 250 | 285 | 340 | 395 | 445 | 505 | 565 | 670 |
| Диаметр D 1 | 125 | 145 | 160 | 180 | 210 | 240 | 295 | 350 | 400 | 460 | 515 | 620 |
| Диаметр D 0 | 180 | 200 | 220 | 250 | 250 | 280 | 300 | 300 | 350 | 350 | 350 | |
| Высота Н | 290 | 330 | 358 | 378 | 128 | 490 | 588 | 690 | 815 | 890 | 980 | |
| N - Th | 4-М16 | 4-М16 | 8-М16 | 8-М16 | 8-М16 | 8-М16 | 8-М16 | 12-М20 | 12-М20 | 16-М20 | 16-М24 | 20-М24 |
| Фланцевое исполнение | ГОСТ 12815-80, исп.1 | |||||||||||
| Герметичность | Класс А по ГОСТ 9544-2005 (без протечек) в обоих направлениях | |||||||||||
| Тип привода | Маховик | |||||||||||
Задвижка шиберная (задвижка ножевая) всегда есть в наличии на нашем складе в Минске



