Задвижка чугунная 30ч39р с обрезиненным клином
ОБЛАСТЬ ПРИМЕНЕНИЯ
Задвижка с обрезиненным клином 30ч39р полнопроходная, применяется в качестве запорной арматуры в различных технологических установках системах водоснабжения, водоотведения и водоочистки.
ТЕХНИЧЕСКОЕ ОПИСАНИЕ
- Рабочее давление задвижки PN: 10/16
- Рабочая температура: +2°С до +80°С
- Кратковременная температура: – 10°С до +90°С
- Диаметры поставляемых задвижек: от DN40 до DN600
- Корпус: высокопрочный чугун GGG50
- Покрытие корпуса: эпоксидное покрытие, нанесенное электростатическим способом голубого цвета RAL 5017 толщиной 250μm.
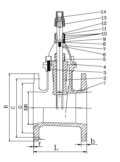
![]() |
1 - Корпус: высокопрочный чугун GGG50 |
| 2 - Клин: высокопрочный чугун GGG50 | |
| 3 - Болт: сталь + воск | |
| 4 - Средняя прокладка: EPDM | |
| 5 - Гайка: латунь | |
| 6 - Стержень: 2Cr13 | |
| 7 - Крышка: высокопрочный чугун GGG50 | |
| 8 - Воротник: чугун | |
| 9 - Прокладка: нейлон | |
| 10 - Кольцо: EPDM | |
| 11 - Кольцо: EPDM | |
| 12 - Сальник: латунь | |
| 13 - Крышка: высокопрочный чугун GGG50 | |
| 14 - Болт: A2-70 |
| DN | L | D | C | G | t | n-d | f |
| 40 | 140 | 150 | 110 | 88 | 18 | 4 - 19 | 3 |
| 50 | 150 | 165 | 125 | 102 | 19 | 4 - 19 | 3 |
| 65 | 170 | 179 | 145 | 122 | 19 | 4 - 19 | 3 |
| 80 | 180 | 194 | 160 | 138 | 19 | 8 - 19 / 4 - 19 | 3 |
| 100 | 190 | 215 | 180 | 158 | 19 | 8 - 19 | 3 |
| 125 | 200 | 245 | 210 | 188 | 19 | 8 - 19 | 3 |
| 150 | 210 | 278 | 240 | 212 | 20 | 8 - 23 | 3 |
| 200 | 230 | 322 | 295 | 268 | 22 | 12 - 23 / 8 - 23 | 3 |
| 250 | 250 | 405 / 395 | 355 / 350 | 320 | 24.5 | 12 - 28 / 12 - 23 | 3 |
| 300 | 270 | 460 / 445 | 410 / 400 | 370 | 24.5 | 12 - 28 / 12 - 23 | 4 |
| 350 | 290 | 520 / 505 | 470 / 460 | 429 | 26.5 | 16 - 28 / 16 - 23 | 4 |
| 400 | 310 | 580 / 565 | 528 / 515 | 480 | 28 | 16 - 31 / 16 - 28 | 4 |
| 500 | 350 | 715 / 670 | 650 / 620 | 582 / 609 | 31.5 | 20 - 34 / 20 - 28 | 4 |
| 600 | 390 | 840 / 780 | 770 / 725 | 682 / 720 | 36 | 20 - 37 / 20 - 31 | 5 |


