Муфта чугунная соединительная универсальная
НАЗНАЧЕНИЕ И ТЕХНИЧЕСКИЕ ХАРАКТЕРИСТИКИ
Данный тип соединительных муфт предназначен для соединения труб из разных материалов и разного диаметра.
Большой обжимаемый диапазон позволяет соединить различные виды труб в пределах заданного номинального размера.
Рабочее давление: PN 10/16.
Используется для водоснабжения и водоподготовки, канализации, сточных вод и вязких жидкостей.
Покрытие: порошковое эпоксидное покрытие, нанесенное электростатическим способом голубого цвета.
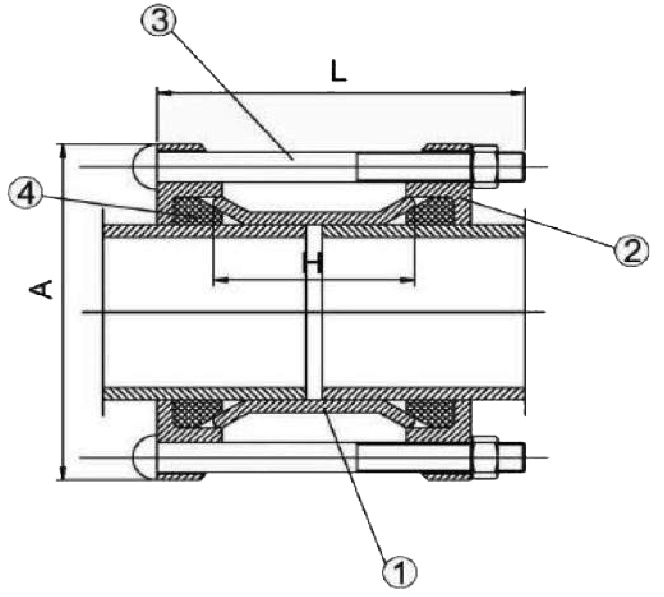
СПЕЦИФИКАЦИЯ

| № | Часть | Материал |
| 1 | Средняя часть | Сталь |
| 2 | Обжимное кольцо | Высокопрочный чугун GJS500 |
| 3 | Болты и гайки | Сталь 8.8 |
| 4 | Уплотнение | Резина EPDM/NBR |
Габаритные размеры и вес:
| DN | Обжимной диаметр | Болты | A | H | Вес, кг | |
| L | Кол-во | |||||
| 50 | 59-72 | M12x180 | 2 | 165 | 98 | 3 |
| 65 | 72-85 | M12x180 | 2 | 185 | 98 | 4 |
| 80 | 88-103 | M12x180 | 4 | 185 | 98 | 4.1 |
| 100 | 109-128 | M12x180 | 4 | 218 | 98 | 4.8 |
| 125 | 132-146 | M12x200 | 4 | 250 | 98 | 6.3 |
| 150 | 159-182 | M12x200 | 4 | 272 | 98 | 7.2 |
| 200 | 218-235 | M12x220 | 4 | 135 | 130 | 12.5 |
| 250 | 272-289 | M12x220 | 6 | 135 | 130 | 19 |
| 300 | 315-332 | M12x220 | 8 | 135 | 130 | 22 |
| 350 | 374-391 | M12x240 | 8 | 510 | 130 | 33 |
| 400 | 418-435 | M12x240 | 8 | 580 | 130 | 38.5 |
| 450 | 480-500 | M12x240 | 10 | 640 | 130 | 47.3 |
| 500 | 527-544 | M12x240 | 10 | 690 | 130 | 57.2 |
| 600 | 630-650 | M12x260 | 10 | 790 | 130 | 71.5 |
УСТАНОВКА
Перед монтажом необходимо убедиться в том, что концы труб не имеют существенной деформации и трубы находятся на опорах (т.е. не имеют поперечной нагрузки).
Изделие не требует разборки.
Стягивающие болты ослабляются и муфта одевается на трубу. Болты стягиваются равномерно по диагонали без особых усилий для достижения плотного контакта с поверхностью трубы.
ГАРАНТИЙНЫЕ ОБЯЗАТЕЛЬСТВА
ЧТУП “ГидроТехГрупп” предоставляет гарантию на все поставляемое оборудование 24 месяца с даты продажи или 12 месяцев с момента ввода в эксплуатацию.

